產品分類
聯系我們
CONTACT US
電 話:0379-63210622
手 機:137-0769-6241
地址:洛陽市西工區衡山路五洲國際工業博覽城B區31棟119號
乘車路線:可自行駕車前往
一、產品概述
該泵集自吸和無堵塞排污于一身,既可象一般清水自吸泵那樣不需安底閥,不需引灌水,又可抽吸含有大顆粒固體塊、長纖維的污物、沉淀物、廢礦雜質、糞便處理及一切工程污水物,完全減輕工人的勞動強度,而且使用、移動、安裝方便、極少維修、性能穩定。
使用范圍
1.環境溫度≤45℃,介質溫度≤60℃。
2.介質PH值鑄鐵泵為6~9,不銹鋼泵為1~14。
3.通過顆粒***大直徑為泵口徑的60%,纖維長度為口徑的5倍。
4.介質中雜質總重量不超過介質總重量的15%,介質比重不超過1240千克/立方米。
二、型號意義

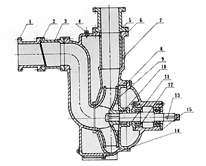
三、結構圖

1 | 進口接管 | 7 | 氣液分離管 | 13 | 泵軸 |
2 | 進口閥 | 8 | 后蓋 | 14 | 軸承蓋 |
3 | 中接管 | 9 | 葉輪 | 15 | 底蓋板 |
4 | 加水螺栓 | 10 | 機械密封 | 16 | 口環 |
5 | 出口接管 | 11 | 擋水圈 | ||
6 | 泵體 | 12 | 軸承座 |
四、技術特性
五、結構特點
ZW型自吸式排污泵是本廠設計人員根據ZX型自吸離心泵及QW型污水泵的結構及性能,借鑒國內外同類產品之優點,并多方面吸收廣大用戶的使用要求和所提意見,研制而成的集自吸及排污一身,既可象一般清水自吸泵那樣不需安底閥,不需灌引水,又可抽吸含有大顆粒固體體塊、長纖維的污物,沉定物、廢礦雜質、糞便處理及一切工程污水物和膠質液體,完全減輕工人的勞動強度,而且使用、移動、安裝方便,極少維修,性能穩定。
六、安裝拆卸
七、性能參數
型號 | 流量 | 揚程 | 功率 | 轉速 | 效率 | 汽蝕余量 |
ZW25-8-15 | 8 | 15 | 1.5 | 2900 | 45 | 2.0 |
ZW32-5-20 | 5 | 20 | 2.2 | 2900 | 45 | 2.5 |
ZW32-10-20 | 10 | 20 | 2.2 | 2900 | 45 | 2.5 |
ZW32-9-30 | 9 | 30 | 3 | 2900 | 48 | 2.5 |
ZW40-10-20 | 10 | 20 | 2.2 | 2900 | 45 | 2.5 |
ZW40-20-15 | 20 | 15 | 2.2 | 2900 | 45 | 2.5 |
ZW40-15-30 | 15 | 30 | 3 | 2900 | 48 | 2.5 |
ZW50-10-20 | 10 | 20 | 2.2 | 2900 | 45 | 2.5 |
ZW50-20-12 | 20 | 12 | 2.2 | 2900 | 45 | 2.5 |
ZW50-15-30 | 15 | 30 | 3 | 2900 | 48 | 2.5 |
ZW50-20-35 | 20 | 35 | 7.5 | 2900 | 48 | 2.5 |
ZW65-30-18 | 30 | 18 | 4 | 2900 | 45 | 2.5 |
ZW65-25-30 | 25 | 30 | 5.5 | 2900 | 50 | 3.0 |
ZW65-25-40 | 25 | 40 | 7.5 | 2900 | 50 | 3.0 |
ZW65-40-25 | 40 | 25 | 7.5 | 2900 | 50 | 3.0 |
ZW65-65-25 | 65 | 25 | 7.5 | 2900 | 52 | 3.0 |
ZW80-40-16 | 40 | 16 | 4 | 1450 | 50 | 3.0 |
ZW80-40-25 | 40 | 25 | 7.5 | 2900 | 50 | 3.0 |
ZW80-25-40 | 25 | 40 | 7.5 | 2900 | 50 | 3.0 |
ZW80-65-25 | 65 | 25 | 7.5 | 2900 | 52 | 3.0 |
ZW80-80-35 | 80 | 35 | 15 | 1450 | 45 | 3.0 |
ZW80-40-50 | 40 | 50 | 18.5 | 2900 | 50 | 3.0 |
ZW80-50-60 | 50 | 60 | 22 | 1450 | 55 | 3.0 |
ZW100-100-15 | 100 | 15 | 7.5 | 1450 | 50 | 4.0 |
ZW100-80-20 | 80 | 20 | 7.5 | 1450 | 53 | 4.0 |
ZW100-100-20 | 100 | 20 | 11 | 1450 | 53 | 4.0 |
ZW100-100-30 | 100 | 30 | 22 | 2900 | 53 | 4.0 |
ZW100-80-45 | 80 | 45 | 37 | 2900 | 55 | 4.0 |
ZW100-80-60 | 80 | 60 | 37 | 2900 | 53 | 4.0 |
ZW100-80-80 | 80 | 80 | 45 | 2900 | 50 | 4.0 |
ZW125-120-20 | 120 | 20 | 15 | 2900 | 55 | 4.5 |
ZW150-180-14 | 180 | 14 | 15 | 1450 | 60 | 5.0 |
ZW150-180-20 | 180 | 20 | 22 | 1450 | 60 | 5.0 |
ZW150-180-30 | 180 | 30 | 37 | 1450 | 65 | 5.0 |
ZW150-180-38 | 180 | 38 | 55 | 1450 | 45 | 5.0 |
ZW200-280-14 | 280 | 14 | 22 | 1450 | 65 | 5.0 |
ZW200-280-20 | 280 | 20 | 37 | 1450 | 62 | 5.0 |
ZW200-300-25 | 300 | 25 | 45 | 1450 | 59 | 5.0 |
ZW200-280-28 | 280 | 28 | 55 | 1450 | 55 | 4.8 |
ZW250-420-20 | 420 | 20 | 55 | 1450 | 61 | 6.0 |
ZW300-800-14 | 800 | 14 | 55 | 1450 | 65 | 6.0 |